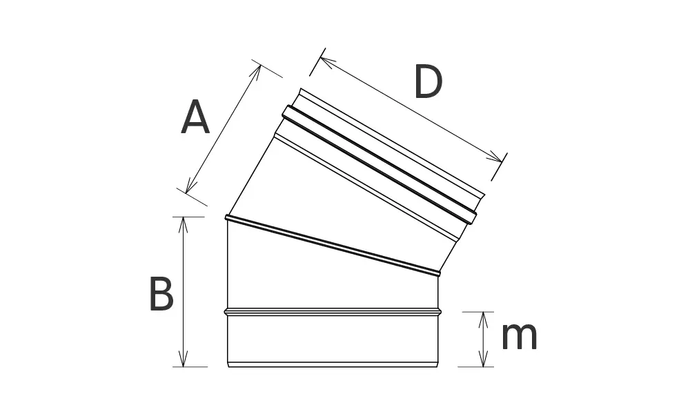
SLXD30 – 30º Elbow
Solinox Chimney Systems
Technical Specifications
| D | 80 | 100 | 130 | 150 | 180 | 200 | 230 | 250 | 280 | 300 | 350 | 400 | 450 | 500 | 550 | 600 |
| A | 110 | 117 | 133 | 136 | 140 | 144 | 160 | 162 | 166 | 181 | 188 | 207 | 214 | 235 | 242 | 261 |
| B | 110 | 117 | 133 | 136 | 140 | 144 | 160 | 162 | 166 | 181 | 188 | 207 | 214 | 235 | 242 | 261 |
| m | 50 | 50 | 50 | 50 | 50 | 50 | 50 | 50 | 50 | 50 | 50 | 50 | 50 | 50 | 50 | 50 |
Solinox Product Catalog
Technical Module
Certificates
Installation Video
Can’t find what you’re looking for?
Contact
Return module used in chimney systems. 30º Elbow.
